JIS สลักเกลียวหน้าแปลนหัวหกเหลี่ยม
1.สลักเกลียวหน้าแปลนหัวหกเหลี่ยมJIS B1189
2. ผู้ผลิตสลักเกลียวแหล่งที่มาโรงงานของตัวเอง: ด้วยความได้เปรียบด้านราคาขจัดความแตกต่างของราคาของพ่อค้าคนกลาง
3. ใช้เหล็กหนาคุณภาพสูงชั้นนําของอุตสาหกรรมเสถียรภาพสูงและความทนทานยาวนาน
4. สนับสนุนการปรับแต่งของลูกค้า
5. การขายและบริการหลังการขายอย่างมืออาชีพยินดีต้อนรับสู่สอบถามได้ตลอดเวลา
6. ส่งมอบตรงเวลา
JIS Hex Head Flange Bolt: คู่มือฉบับสมบูรณ์
เมื่อพูดถึงรัดJIS สลักเกลียวหน้าแปลนหัวหกเหลี่ยมเป็นส่วนประกอบสําคัญที่มีบทบาทสําคัญในการใช้งานที่หลากหลาย สลักเกลียวเหล่านี้มักใช้ในโรงงานอุตสาหกรรม ยานยนต์ และการก่อสร้าง ซึ่งให้โซลูชันการยึดที่ปลอดภัยสําหรับการประกอบที่สําคัญ พื้นที่JIS สลักเกลียวหน้าแปลนหัวหกเหลี่ยมรวมหัวหกเหลี่ยมแบบดั้งเดิมเข้ากับหน้าแปลนในตัว ให้ข้อได้เปรียบที่ไม่เหมือนใครในแง่ของความสะดวกในการติดตั้ง การกระจายน้ําหนัก และความต้านทานการสั่นสะเทือน
ในบทความนี้ เราจะสํารวจทุกสิ่งที่คุณจําเป็นต้องรู้JIS สลักเกลียวหน้าแปลนหัวหกเหลี่ยมรวมถึงการออกแบบ คุณสมบัติ การใช้งาน และเหตุใดจึงเป็นตัวเลือกที่ต้องการในหลายอุตสาหกรรม
สลักเกลียวหน้าแปลนหัวหกเหลี่ยม JIS คืออะไร?
AJIS สลักเกลียวหน้าแปลนหัวหกเหลี่ยมเป็นตัวยึดชนิดหนึ่งที่มีหัวหกเหลี่ยมและหน้าแปลนที่แนบมาที่ฐานของหัว "JIS" ย่อมาจากมาตรฐานอุตสาหกรรมญี่ปุ่นซึ่งเป็นชุดแนวทางที่ใช้ในการควบคุมการออกแบบและการผลิตส่วนประกอบในอุตสาหกรรมต่างๆ พื้นที่JIS สลักเกลียวหน้าแปลนหัวหกเหลี่ยมได้รับการออกแบบมาเพื่อให้มีความแข็งแรงสูงและยึดได้อย่างปลอดภัยในขณะที่ให้การกระจายน้ําหนักที่ดีกว่าเมื่อเทียบกับสลักเกลียวแบบเดิม
หน้าแปลนซึ่งโดยทั่วไปจะกว้างกว่าหัวทําหน้าที่เป็นแหวนรองช่วยกระจายน้ําหนักอย่างสม่ําเสมอทั่วทั้งพื้นผิว การออกแบบที่เป็นเอกลักษณ์นี้ช่วยลดความเสี่ยงของความเสียหายของวัสดุและช่วยป้องกันไม่ให้สลักเกลียวคลายตัวเนื่องจากการสั่นสะเทือนหรือแรงแบบไดนามิก
คุณสมบัติหลักของสลักเกลียวหน้าแปลนหัวหกเหลี่ยม JIS
✅หัวหกเหลี่ยมเพื่อการกระชับที่ง่ายดาย
หัวหกเหลี่ยมของJIS สลักเกลียวหน้าแปลนหัวหกเหลี่ยม·ทําให้ง่ายต่อการขันและคลายโดยใช้ เครื่องมือ มาตรฐาน เช่น ประแจหรือชุดซ็อกเก็ต/ช่องเสียบ สิ่งนี้ให้ความสะดวกระหว่างการติดตั้งและบํารุงรักษา เนื่องจากช่วยให้ใช้แรงบิดได้ดีขึ้น
✅หน้าแปลนในตัวเพื่อการกระจายน้ําหนักที่ดีขึ้น
หนึ่งในคุณสมบัติที่กําหนดของJIS สลักเกลียวหน้าแปลนหัวหกเหลี่ยมเป็นหน้าแปลนในตัว หน้าแปลนนี้ทําหน้าที่เป็นเครื่องซักผ้ากระจายน้ําหนักอย่างสม่ําเสมอมากขึ้นทั่วพื้นผิวที่ยึดไว้ สิ่งนี้มีประโยชน์อย่างยิ่งเมื่อทํางานกับวัสดุที่อ่อนนุ่มหรือบางซึ่งอาจเสียรูปภายใต้แรงกดที่เข้มข้นจากสลักเกลียวแบบดั้งเดิม
✅ป้องกันการคลายตัวเนื่องจากการสั่นสะเทือน
การออกแบบของJIS สลักเกลียวหน้าแปลนหัวหกเหลี่ยมยังช่วยป้องกันการคลายตัวเมื่อเวลาผ่านไป โดยเฉพาะอย่างยิ่งในสภาพแวดล้อมที่เกิดปัญหาการสั่นสะเทือน หน้าแปลนให้แรงเสียดทานเพิ่มเติมระหว่างสลักเกลียวและวัสดุที่ยึด ซึ่งช่วยยึดสลักเกลียวและลดความเสี่ยงของการคลายตัว
✅ความต้านทานการกัดกร่อน
หลายJIS สลักเกลียวหน้าแปลนหัวหกเหลี่ยม·ทําจากวัสดุที่ทนต่อการกัดกร่อนเช่นสแตนเลสทําให้เหมาะสําหรับการใช้งานกลางแจ้งหรือในสภาพแวดล้อมที่สัมผัสกับความชื้นและสภาวะที่รุนแรงอื่น ๆ สลักเกลียวเหล่านี้ได้รับการออกแบบมาให้ทนต่อสนิมและการกัดกร่อน เพื่อให้มั่นใจได้ถึงความทนทานและอายุการใช้งานที่ยาวนาน
✅การใช้งานที่หลากหลาย
JIS สลักเกลียวหน้าแปลนหัวหกเหลี่ยมมีให้เลือกหลายขนาดและ วัสดุ ทําให้เหมาะสําหรับการใช้งานที่หลากหลาย ตั้งแต่เครื่องจักรสําหรับงานหนักไปจนถึงชิ้นส่วนยานยนต์ สลักเกลียวเหล่านี้ให้ความแข็งแรงและความน่าเชื่อถือที่จําเป็นสําหรับการยึดที่ปลอดภัย
การประยุกต์ใช้สลักเกลียวหน้าแปลนหัวหกเหลี่ยม JIS
เนื่องจากการออกแบบและฟังก์ชันการทํางานที่เหนือกว่าJIS สลักเกลียวหน้าแปลนหัวหกเหลี่ยมใช้ในหลายอุตสาหกรรม ได้แก่ :
✅อุตสาหกรรมยานยนต์
ในอุตสาหกรรมยานยนต์JIS สลักเกลียวหน้าแปลนหัวหกเหลี่ยมมักใช้เพื่อยึดส่วนประกอบเครื่องยนต์ ระบบกันสะเทือน และชิ้นส่วนที่สําคัญอื่นๆ ความสามารถในการทนต่อการสั่นสะเทือนและโหลดแบบไดนามิกทําให้เหมาะสําหรับการใช้งานยานยนต์ ซึ่งความปลอดภัยและประสิทธิภาพเป็นสิ่งสําคัญยิ่ง
✅การก่อสร้างและโครงสร้างพื้นฐาน
ในการก่อสร้าง สลักเกลียวเหล่านี้ใช้เพื่อยึดส่วนประกอบโครงสร้าง เช่น คาน เสา และเครื่องจักร พื้นที่JIS สลักเกลียวหน้าแปลนหัวหกเหลี่ยมการออกแบบหน้าแปลนให้การกระจายน้ําหนักที่ดีขึ้นทําให้มีประโยชน์อย่างยิ่งสําหรับโครงการโครงสร้างพื้นฐานขนาดใหญ่ที่ต้องการการยึดที่แข็งแรงและทนทาน
✅เครื่องจักรกลหนักและอุปกรณ์
เครื่องจักรและอุปกรณ์หนักยังพึ่งพาJIS สลักเกลียวหน้าแปลนหัวหกเหลี่ยมเพื่อยึดส่วนประกอบที่อยู่ภายใต้ความเครียดสูง ไม่ว่าจะใช้ในเครน รถปราบดิน หรือเครื่องจักรอุตสาหกรรมอื่นๆ สลักเกลียวเหล่านี้ช่วยให้มั่นใจได้ว่าชิ้นส่วนที่สําคัญยังคงยึดแน่นแม้ใช้งานหนัก
✅การใช้งานทางทะเลและการบินและอวกาศ
ในอุตสาหกรรมทางทะเลและการบินและอวกาศJIS สลักเกลียวหน้าแปลนหัวหกเหลี่ยมใช้เพื่อยึดชิ้นส่วนที่สัมผัสกับสภาวะที่รุนแรงรวมถึงระดับความชื้นสูงความผันผวนของอุณหภูมิและสภาพแวดล้อมที่มีความเครียดสูง ความต้านทานการกัดกร่อนและความสามารถในการรับน้ําหนักทําให้จําเป็นต่อการรับรองความปลอดภัยและความน่าเชื่อถือในอุตสาหกรรมเหล่านี้
ข้อดีของการใช้สลักเกลียวหน้าแปลนหัวหกเหลี่ยม JIS
✅ปรับปรุงความปลอดภัยและประสิทธิภาพ
หน้าแปลนของJIS สลักเกลียวหน้าแปลนหัวหกเหลี่ยมช่วยกระจายภาระอย่างสม่ําเสมอมากขึ้นลดความเสี่ยงของความเข้มข้นของความเครียดที่อาจทําให้เกิดความล้มเหลวของวัสดุ สิ่งนี้ช่วยเพิ่มความปลอดภัยและประสิทธิภาพโดยรวมของการประกอบ ทําให้เหมาะสําหรับสภาพแวดล้อมที่มีเดิมพันสูงซึ่งความน่าเชื่อถือเป็นสิ่งสําคัญ
✅ลดความเสี่ยงของการคลายตัว
ด้วยแรงเสียดทานจากหน้าแปลนJIS สลักเกลียวหน้าแปลนหัวหกเหลี่ยมมีโอกาสน้อยที่จะคลายตัวเมื่อเวลาผ่านไปแม้ในสภาพแวดล้อมที่สั่นสะเทือนหรือไดนามิก สิ่งนี้ทําให้มั่นใจได้ว่าชุดประกอบของคุณยังคงไม่บุบสลาย ป้องกันการซ่อมแซมหรือความล้มเหลวที่มีค่าใช้จ่ายสูง
✅คุ้มค่าและมีประสิทธิภาพ
เนื่องจากJIS สลักเกลียวหน้าแปลนหัวหกเหลี่ยมทําหน้าที่เป็นทั้งสลักเกลียวและแหวนรอง ช่วยลดความจําเป็นในการใช้แหวนรองแยกต่างหาก ทําให้เป็นโซลูชันที่คุ้มค่าและมีประสิทธิภาพ การลดจํานวนส่วนประกอบที่จําเป็นนี้ช่วยลดความยุ่งยากในกระบวนการประกอบและประหยัดต้นทุนวัสดุ
✅ความทนทานในระยะยาว
คุณสมบัติทนต่อการกัดกร่อนของหลาย ๆJIS สลักเกลียวหน้าแปลนหัวหกเหลี่ยมทําให้เหมาะสําหรับการใช้งานในระยะยาวแม้ในสภาพแวดล้อมที่รุนแรง ความทนทานช่วยให้มั่นใจได้ว่าสามารถรับมือกับอุณหภูมิ ความชื้น และสภาวะที่รุนแรงอื่นๆ ได้ ส่งผลให้มีการเปลี่ยนและบํารุงรักษาน้อยลง
วิธีการเลือกสลักเกลียวหน้าแปลนหัวหกเหลี่ยม JIS ที่เหมาะสม
เมื่อเลือกJIS สลักเกลียวหน้าแปลนหัวหกเหลี่ยมให้พิจารณาปัจจัยต่อไปนี้:
✅วัสดุและการตกแต่ง
เลือกวัสดุสลักเกลียวตามสภาพแวดล้อมที่จะสัมผัส ตัวอย่างเช่น เหล็กกล้าไร้สนิมมีความต้านทานการกัดกร่อนที่ดีเยี่ยม ในขณะที่เหล็กชุบสังกะสีเหมาะสําหรับการใช้งานมาตรฐานมากขึ้น
✅ขนาดและประเภทเกลียว
ตรวจสอบให้แน่ใจว่าขนาดสลักเกลียวและประเภทเกลียวตรงกับข้อกําหนดของโครงการของคุณ ขนาดที่ถูกต้องจะช่วยให้มั่นใจได้ถึงการกระจายโหลดที่เหมาะสมและการเชื่อมต่อที่ปลอดภัย ใส่ใจกับขนาดและข้อมูลจําเพาะของเกลียวเพื่อรับประกันความพอดี
✅ข้อกําหนดแรงบิด
พิจารณาข้อกําหนดแรงบิดสําหรับการใช้งานเฉพาะของคุณ ทุกJIS สลักเกลียวหน้าแปลนหัวหกเหลี่ยมได้รับการจัดอันดับสําหรับแรงบิดในระดับหนึ่ง ดังนั้นตรวจสอบให้แน่ใจว่าได้เลือกสลักเกลียวที่ถูกต้องที่สามารถรับแรงที่ชุดประกอบของคุณจะได้สัมผัส
บทสรุป
ในที่สุดJIS สลักเกลียวหน้าแปลนหัวหกเหลี่ยมเป็นตัวยึดที่จําเป็นในหลายอุตสาหกรรม ให้การกระจายน้ําหนัก ทนต่อการสั่นสะเทือน และทนต่อการกัดกร่อนที่เหนือกว่า การออกแบบหน้าแปลนที่เป็นเอกลักษณ์ทําให้มีความน่าเชื่อถือและคุ้มค่ากว่าเมื่อเทียบกับสลักเกลียวแบบดั้งเดิมในขณะเดียวกันก็ลดความซับซ้อนในการติดตั้งและลดความจําเป็นในการใช้ส่วนประกอบเพิ่มเติม
ไม่ว่าคุณจะทํางานในอุตสาหกรรมยานยนต์ การก่อสร้าง ทางทะเล หรือการบินและอวกาศJIS สลักเกลียวหน้าแปลนหัวหกเหลี่ยมเป็นตัวเลือกที่เหมาะสําหรับการรักษาความปลอดภัยส่วนประกอบที่สําคัญ ด้วยประสิทธิภาพและความทนทานที่เพิ่มขึ้น สลักเกลียวเหล่านี้ช่วยให้โครงการของคุณประสบความสําเร็จในระยะยาว



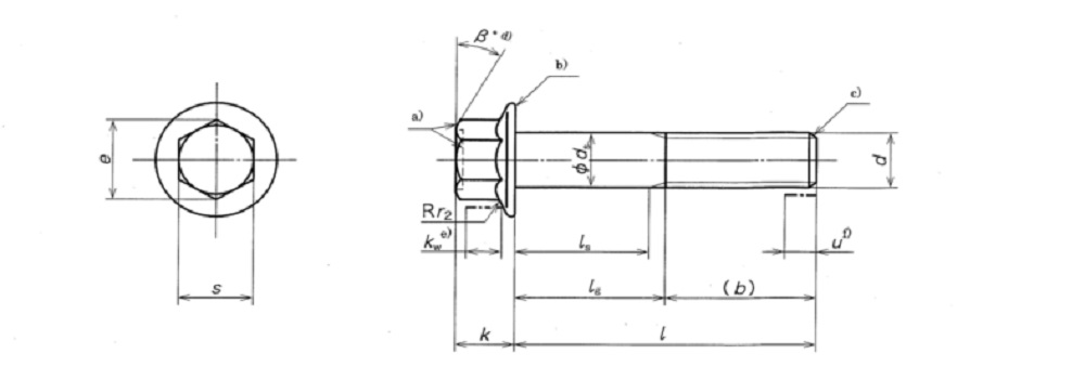
การวาดภาพผลิตภัณฑ์




